推薦企業新聞
-
水泵行業發展前景及剖析
2021年10/11 - 09:04:02
-
半閉式葉輪自吸離心泵
2021年10/11 - 09:03:57
-
水泵按時檢修方式 專業知識
2021年10/11 - 09:03:54
-
往復泵閥的功效是啥
2021年10/08 - 13:26:28
-
化工泵選型時要特別注意些哪些
2021年10/08 - 13:26:26
-
水泵的操縱方式如何
2021年10/08 - 13:26:25
CQ磁力泵和CQB磁力泵有什么不同
CQ磁力泵和CQB磁力泵差別,CQ和CQB磁力泵有什么不同
磁力驅動器離心泵關鍵由四一部分構成:罩殼一部分、電機轉子一部分、聯接一部分、傳動系統一部分。磁力驅動器離心泵有直聯式和非直聯式二種方式。
CQ磁力泵的構造是將帶磁聯軸器(外磁鋼)與電動機軸立即連在一起,省掉泵外軸、滾柱軸承和聯軸器等構件,如圖所示1-12所顯示。
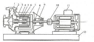
CQB磁力驅動器離心泵又稱之為基本型磁力驅動器泵,泵帶磁聯軸器(外磁鋼)外軸根據滾動軸承箱、聯軸器與電機聯接。CQB磁力泵構造提示如圖所示1 16所顯示。

圖l一21非直聯(基本型)磁力驅動器離心泵構造提示
1-泵殼(泵體);2離心葉輪,3滾動軸承;4泵內軸;5防護套;6內磁鋼
7外磁鋼,s滾柱軸承:9泵外軸;10-聯軸器;11電動機;12--基座
磁力泵相關產品;聚苯硫醚磁力泵
類似技術性文章內容:磁力泵氣蝕的原因是什么
文章內容由技術專業的上海水泵企業原創切勿隨便轉截
上一篇:污水潛水泵機械設備密封的更新改造
-
半閉式葉輪自吸離心泵2021-10-11
-
化工泵選型時要特別注意些哪些2021-10-08
-
污水泵與雜質泵有什么不同2021-09-22
-
油泵機械密封啟動前的注意事項2021-09-15
-
水泵領域,危害水泵行業發展的有益要素2021-09-08
-
潛水排污泵使用方法及常見問題2021-09-06
-
大流量排水搶險車用自吸泵由盛納給予2021-08-19
-
離心泵在農業生產中的作用2021-08-17
-
自吸式水泵進口管道改小對水泵的危害2021-03-31
-
盛納自吸式水泵測試平臺超過領域水準2021-08-12
-
排污泵如何配電纜線2021-03-29
-
磁力泵和屏蔽泵的安全性較為2021-08-02
-
離心泵的工作原理知識_離心泵工作原理動畫2021-03-31
-
多級離心泵的結構圖及原理2021-04-02
-
潛水泵的關鍵技術性特性2021-03-10
-
上海市盛納水泵廠自吸泵原理剖析2021-03-09




